自動調節高溫蝶閥

產品應用
自動調節高溫蝶閥,普遍適用于建材、玻璃、礦山、電力、輕工、造紙等行業的通風、環保工程、煙氣治理、熱能回收等管道系統中。對管道中氣體介質按不同控制信號調節流量大小和切斷。
結構特點
自動調節高溫蝶閥采用不銹鋼、優質碳鋼焊接。具有耐高溫、耐磨損、結構合理、流阻損失小、操作靈活、指示方位明確、維護方便、使用壽命長等優點??伤桨惭b或垂直安裝。配用DKJ、ZKJ、伯納德等電動執行器及有關配件,可實現手動、自動無干擾切換,微機程控、自動控制或中央集中控制,是實現自動化控制操作、調節流量的理想設備。

性能參數
|
公稱壓力 |
介質流速 |
泄漏率 |
適用溫度 |
適用介質 |
|
0.05MPa |
≤25m/s |
≤1.5% |
≤450℃ |
空氣、煙氣、粉塵氣體等 高溫氣體 |
|
≤650℃ |
型號說明
.png)

ZGF-450外形連接尺寸
|
DN |
D |
D1 |
B |
b |
n-d |
E |
L1 |
L2 |
n-d |
|
100 |
200 |
155 |
180 |
10 |
4-Φ14 |
855 |
450 |
620 |
DKJ-210 T:100N.m P:0.025KW |
|
150 |
250 |
205 |
180 |
10 |
8-Φ14 |
905 |
450 |
620 |
|
|
200 |
300 |
255 |
180 |
10 |
8-Φ14 |
965 |
450 |
620 |
|
|
250 |
350 |
305 |
180 |
10 |
12-Φ14 |
1015 |
450 |
620 |
|
|
300 |
400 |
355 |
180 |
10 |
12-Φ14 |
1085 |
450 |
620 |
|
|
350 |
450 |
405 |
180 |
10 |
16-Φ14 |
1135 |
450 |
620 |
|
|
400 |
520 |
465 |
200 |
12 |
16-Φ18 |
1385 |
500 |
650 |
DKJ-310 T:250N.m P:0.065KW |
|
450 |
570 |
515 |
200 |
12 |
16-Φ18 |
1440 |
500 |
650 |
|
|
500 |
620 |
565 |
200 |
12 |
20-Φ18 |
1486 |
500 |
650 |
|
|
600 |
720 |
665 |
200 |
12 |
20-Φ18 |
1596 |
500 |
650 |
|
|
700 |
820 |
765 |
220 |
12 |
20-Φ18 |
1780 |
600 |
700 |
DKJ-410 T:600N.m P:0.16KW |
|
800 |
920 |
865 |
220 |
12 |
24-Φ18 |
1895 |
600 |
700 |
|
|
900 |
1020 |
965 |
220 |
12 |
24-Φ18 |
1995 |
600 |
700 |
|
|
1000 |
1130 |
1070 |
260 |
16 |
28-Φ22 |
2255 |
620 |
780 |
DKJ-510 T:1600N.m P:0.4KW |
|
1100 |
1230 |
1170 |
260 |
16 |
28-Φ22 |
2355 |
620 |
780 |
|
|
1200 |
1330 |
1270 |
260 |
16 |
28-Φ22 |
2455 |
620 |
780 |
|
|
1300 |
1430 |
1370 |
300 |
16 |
32-Φ22 |
2555 |
620 |
820 |
|
|
1400 |
1530 |
1470 |
300 |
16 |
36-Φ22 |
2655 |
620 |
820 |
|
|
1500 |
1630 |
1570 |
300 |
16 |
36-Φ22 |
2770 |
620 |
820 |
|
|
1600 |
1730 |
1670 |
300 |
16 |
40-Φ22 |
2870 |
620 |
820 |
|
|
1700 |
1830 |
1770 |
340 |
20 |
40-Φ22 |
3110 |
650 |
900 |
DKJ-610A T:2500N.m P:0.65KW |
|
1800 |
1930 |
1870 |
340 |
20 |
44-Φ22 |
3210 |
650 |
900 |
|
|
1900 |
2030 |
1970 |
340 |
20 |
44-Φ22 |
3310 |
650 |
900 |
|
|
2000 |
2130 |
2070 |
340 |
20 |
48-Φ22 |
3410 |
650 |
900 |
|
|
2100 |
2230 |
2170 |
340 |
20 |
48-Φ22 |
3525 |
650 |
900 |
|
|
2200 |
2330 |
2270 |
340 |
20 |
48-Φ22 |
3625 |
650 |
900 |
|
|
2300 |
2430 |
2370 |
380 |
20 |
48-Φ22 |
3805 |
650 |
1000 |
DKJ-610 T:4000N.m P:1.0KW |
|
2400 |
2530 |
2470 |
380 |
20 |
48-Φ22 |
3905 |
650 |
1000 |
|
|
2500 |
2630 |
2570 |
380 |
20 |
52-Φ22 |
4005 |
650 |
1000 |
|
|
2600 |
2730 |
2670 |
380 |
20 |
52-Φ22 |
4105 |
650 |
1000 |
|
|
2700 |
2860 |
2785 |
420 |
24 |
56-Φ26 |
4210 |
750 |
1350 |
DKJ-710 T:6000N.m P:1.5KW |
|
2800 |
2960 |
2885 |
420 |
24 |
60-Φ26 |
4310 |
750 |
1350 |
|
|
2900 |
3060 |
2985 |
420 |
24 |
60-Φ26 |
4410 |
750 |
1350 |
|
|
3000 |
3160 |
3085 |
420 |
24 |
60-Φ26 |
4510 |
750 |
1350 |
工作原理
由電動執行器接受變送、調節DCS、PLC等上位儀表的控制信號或操作器手控信號,輸出角位移帶動傳動軸,把動力傳給閥軸帶動蝶板作同步旋轉運動,達到全開、全閉及任意調節的目的。電動執行器與蝶板的開度同步反饋0-10mA或4-20mA直流電信號,用戶可根據電流信號來控制蝶板的任意開度,達到調節的目的。
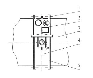
安裝示意圖

1.聯接螺栓
2.執行機構
3.用戶管道
4.閥 體
5.密封墊片(耐高溫)
安裝及調試
•水平安裝或垂直安裝的閥門閥軸應處于水平位置,執行器不允許作起吊用,并嚴禁損傷。
•安裝前必須清潔閥門內腔,不允許有任何雜物和污垢附著。
•安裝前先手動啟閉閥門一個周期,按用戶工作系統要求對閥門作適當的調整(出廠時已作標準調整),運行無誤后將閥門處于全閉狀態再進行安裝。
•手動操作時,應切斷電源,不得在手輪上再增加輔助杠桿。手輪順時針旋轉為閥關,反之為開。閥板開啟角度為0--90°。
•法蘭連接的閥門安裝如示意圖,加密封墊后均勻鎖緊聯接螺栓。調試階段先調試手動,運行無誤后將蝶板開啟一個角度,再調試電傳動部分。
•調試完成后必須進行綜合性能檢查:接通電源開閉閥門,當閥門至“全開”“全閉”位置時,行程控制機構應準確地切斷電源,而轉矩限位機構處于臨界動作狀態。開度指示機構應準確地顯示閥門的開啟狀態。當手動與電動機構轉換時,應切斷電源。
運輸及保管
•運輸時應避免撞擊閥門,閥門應處于全閉位置以防在運輸中蝶板和傳動部件損壞。
•當閥門水平放置運輸時傳動裝置及傳動部位應懸空,以防止傳動軸受力過大變形損壞。
•傳動裝置及傳動部位應作防潮、防雨處理。
•該閥應存放在于燥的室內,不允許露天存放或堆置。長期存放時應使閥門處于關閉狀態,各傳動部位加潤滑油,傳動裝置作防潮、防塵處理。
維護和檢修
•定期檢查各傳動部位的運行情況。
•定期更換電動執行器減速器的潤滑油,以保證其機械部分不受損壞。
•定期檢查閥門轉軸處的密封狀況,如發現密封問題請更換或填加石墨填料。
訂貨須知
•選用訂貨時,請參照產品樣本注明產品規格、型號、客戶選用執行器代號及技術參數(使用溫度、設備工況、介質性質等)。
•樣本所示產品圖例及表格中所列執行器型號為我公司基本配置,您若有特殊要求(防爆、戶外、調節型、開關型等)另行配置執行機構,請參照樣本附錄中相應執行機構配置說明,并加以標注在基本型號后面。
•選用訂貨時,若未注明客戶選用執行器代號的按我公司基本型配置,其基本型為普通型裝置,不帶任何有關特殊要求及相關配件。
•表格中未列規格、用于特殊介質或其它特殊要求,請與我公司經銷部、技術部聯系,可為您另行設計、制造。


